据中国专利公布公告网显示,由华为技术有限公司申请专利的新发明“散热装置、散热装置的制备方法及电子设备”在近日公布。
说明书指出,随着电子集成技术的快速发展,电子设备日趋小型化。电子设备中电子元器件的集成度和组装密度不断提高,在提供了强大功能的同时,也导致了其工作功耗和发热量的急剧增大,所以终端电子设备对电子元器件的散热需求也随之增加。

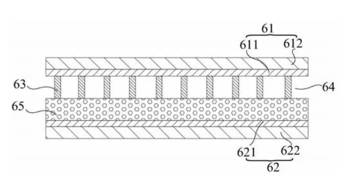
说明书介绍了散热装置的制备方法:首先在部分支撑柱的表面形成网状结构,由于网状结构具有毛细力,当导热介质的蒸汽在冷凝区域冷凝后回流时,会被支撑柱上的网状结构吸附,并在毛细力的作用下加快回流至蒸发区域的速度。
该方法可以提高芯片等电子设备中的散热装置中导热介质回流速度,避免了蒸发区域处的冷凝导热介质不能满足蒸发所需的情况发生,从而提升散热装置的散热效果,保证了电子设备的散热性能。
据了解,目前电子设备技术主要有喷雾冷却、热管冷却、热电制冷、相变储能冷却等。相变储能冷却在高热耗、低热流密度、短时间工作的电子设备应用前景非常广阔。另外,还有新兴发展中的散热技术正在得到业界的关注,如二维材料、离子风散热、5D电子血液技术等。